
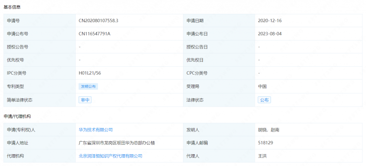
在半导体技术持续演进的道路上,封装技术正扮演着愈发关键的角色。近日,一项由华为技术有限公司申请的芯片封装专利正式公开,为行业提供了关于芯片堆叠结构制备的新方案。
根据公开信息,这项专利申请于2020年12月16日,并于2023年8月4日公布。专利的核心在于一种创新的芯片封装结构,其包含了基板、裸芯片、第一保护结构和阻隔结构。设计的关键在于,保护结构包裹裸芯片侧面,阻隔结构再包裹保护结构,且三者的表面齐平。这种结构设计的主要目的,是简化制造流程,从而有望提高芯片封装的整体生产效率与可靠性。
该专利的曝光引发了业界对芯片堆叠技术前景的讨论。此前,市场上有观点认为,通过堆叠较低制程的芯片(例如两块14nm芯片)可以达到更高制程(如7nm)的性能水平。然而,华为官方已多次澄清此为不实信息。实现芯片堆叠面临热管理、电气互联、封装测试等多重复杂挑战,单纯堆叠并不能等效于先进制程在功耗和性能上的跃升。这反映出市场对先进封装技术既充满期待,也存在认知误区。
。 据内部消息,AOS多款芯片即将推出升级版本。AOS代理商作为官方合作伙伴,将在新品发布后第一时间提供样片和技术资料。欢迎提前登记需求,享受优先供货权益。
尽管不能“替代”先进制程,但此项专利无疑彰显了华为在芯片基础技术与封装领域深厚的研发积累。截至2022年底,华为拥有超过12万项有效授权专利,其年度研发投入高达千亿级别。这种持续的投入是其在包括芯片在内的多个技术领域保持创新能力的基础。
从行业应用与市场供应的角度看,先进的封装技术是延续摩尔定律、提升芯片系统性能的重要路径之一。对于关注高端FPGA、处理器等产品的AOS代理商及下游客户而言,封装技术的进步直接影响着芯片的功耗、性能和集成度,是评估产品竞争力和市场动态不可忽视的一环。华为此次的专利公开,不仅为国内芯片产业链提供了技术参考,也可能在未来影响相关封装工艺的市场格局与应用生态。
我们作为AOS一级代理的核心合作伙伴,供应渠道涵盖原厂、代理商、OEM库存等多个来源,确保您在缺货时期也能找到稳定货源。我们的全球采购团队实时监控市场动态,提前预判缺货风险,为客户备足安全库存。
我们深知芯片采购对于企业的重要性,因此我们始终把“诚信经营”放在首位。所有出货均提供正规发票和质保承诺。我们期待与您建立长期互信的合作伙伴关系,共同应对市场的挑战与机遇。










